2025-12
04
公开号(公开)CN119208377A公开日期(公开)2024.12.27申请人(公开)南京航空航天大学发明人(公开)刘衍朋; 王小钒; 王琴; 郭万林IPC分类(公开)H01L29/78;H01L21/336CPC发明(公开)H01L29/78391;H01L29/6684一种具有25极化状态的层间铁电晶体管及其制备方法,属于铁电功能器件领域,本发明基于石墨烯/六方氮化硼(Gr/h...
2025-11
18
公开号(授权)CN120638897B公开日期(授权)2025.11.07申请人(授权)南京航空航天大学发明人(授权)殷俊; 王子昊; 邓威; 郭万林; 张助华IPC分类(授权)H02N3/00发明名称(授权)本发明公开了一种利用天然水体构建的漂浮式液滴发电器件以及发电系统,包括液滴、金属顶部电极、疏水介电膜、浮动块以及天然水体作为底部电...
2025-10
16
公开号(授权)CN223404737U公开日期(授权)2025.10.03申请人(授权)南京航空航天大学发明人(授权)刘衍朋;陈文发; 赵一舟; 李嘉然; 黄睿鑫IPC分类(授权)B01D67/00本实用新型公开了一种海水淡化膜的连续产业化生产装置,将卷对卷输送、喷雾涂布、红外快速干燥与等离子体表面活化四大工艺模块集成于同一刚性箱体内,能...
09
公开号(授权)CN120155076B公开日期(授权)2025.08.29申请人(授权)南京航空航天大学发明人(授权)刘衍朋; 李嘉然; 陈文发; 赵一舟; 黄睿鑫IPC分类(授权)C02F1/44;B01D71/02;B01D71/40;B01D69/02;B01D67/00一种高水通量高分子渗透膜及其制备方法和应用,包括如下步骤:将基板旋涂甲基丙烯酸甲酯PMMA或PVA或S1813高分...
公开号(授权)CN119496466B公开日期(授权)2025.09.16申请人(授权)南京航空航天大学发明人(授权)李基东; 傅晨伟; 殷俊; 郭万林IPC分类(授权)G06N3/063;H10N70/20;H03B5/20本发明公开了一种复合忆阻器和液池电化学反应的大幅调频振荡器件,涉及电子元器件技术、神经形态器件、电子信息处理等多个领域;该大幅调频振...
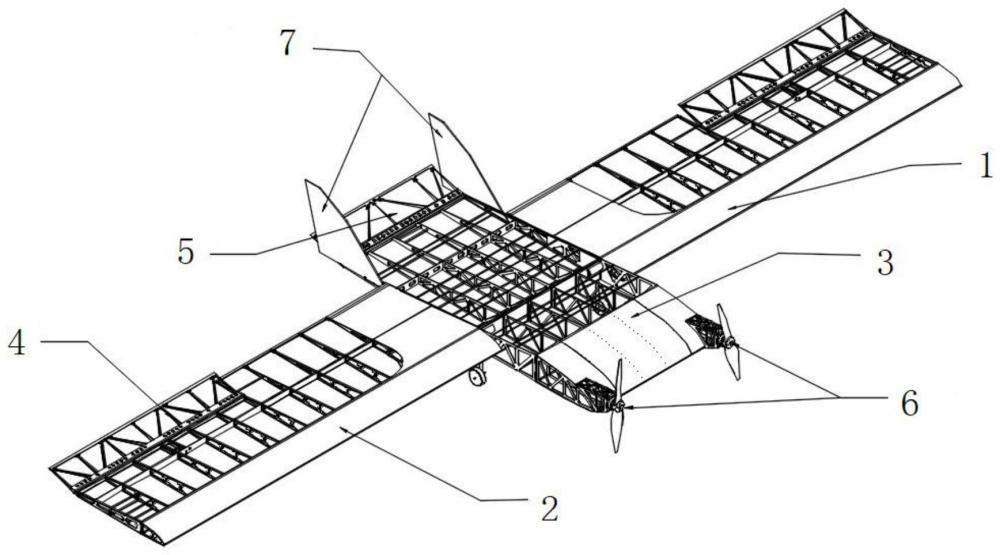
公开号(授权)CN222310940U公开日期(授权)2025.01.07申请人(授权)南京航空航天大学发明人(授权)聂日明; 李佳俊; 罗敏豪; 路常青IPC分类(授权)B64U50/19;B64U10/25;B64U30/00;B64U30/10;B64U50/31;B64U20/70本实用新型公开了一种全升力体钙钛矿太阳能无人机,包括大弦长升力体机身及两侧的机翼,机翼外段后缘设置有...
公开号(授权)CN222447032U公开日期(授权)2025.02.11申请人(授权)南京航空航天大学发明人(授权)赵璐瑶; 聂日明IPC分类(授权)B05C13/02;B05C11/11;B05C11/10;B05C1/02本实用新型公开了一种在线滚动涂油防锈工装,设于成品轴承多的下料口与下料道之间,所述涂油防锈工装包括涂油机架,该机架上固定有油盒,所述油盒...
公开号(授权)CN115436364B公开日期(授权)2025.03.21申请人(授权)南京航空航天大学发明人(授权)刘衍朋; 吴晓玥; 林繁荣IPC分类(授权)G01N21/84;G01N21/01;G01N21/21本发明公开了一种自旋和能谷极化信号的无损成像系统,包括XY扫描位移台、激光器、光电探测器、若干锁相放大器和CCD相机。通过设置微米级高精度XY扫描...
--校内链接--
--校外链接--
微信公众号